Mat Cutting Tutorials
Reverse Bevel (Shadow Mats)
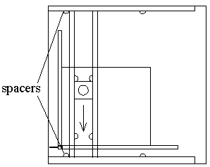
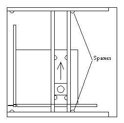
- The reverse bevel shadow mat is cut from the back in the counter clockwise direction using a pair of stop spacers on the side being cut. The thin end of the spacer is used and the spacers are shifted from side to side as each cut is made.
- Cut the right side moving upward with the spacers installed at the right carriage stops.


Cut the top moving to the left with the spacers installed at the top carriage.- Cut the left side moving downward with the spacers installed at the left carriage stops.
- Cut the bottom moving to the right with the spacers installed at the bottom carriage stops.
View All Mat Cutting Tutorials
Customer Support Online
Need basic help with your Speed-Mat Cutter?
Try our new Flash Training Videos online!
Want prioritized support and an annual knife-head tune-up?
Purchase an Annual Service Contract
Frequently Asked Questions | Special Cutting Techniques | Support |
Need Answers? Find out everything you want to know about Speed-Mat and the H.F. Esterly Company by reading our frequently asked questions. | A Mat Cutter from Speed-Mat is capable of performing a wide variety of cuts. Learn advanced cutting techniques or perfect simple cuts. | Having trouble with your Speed-Mat® Mat Cutter? Looking for Installation and Operating instructions? View our online documentation or call us at 207-294-4358. |



